回顶部

10月20日晚,中国福利彩票双色球游戏进行第2020103期开奖。当期双色球红球号码为04、09、10、22、28、32,蓝球号码为08。
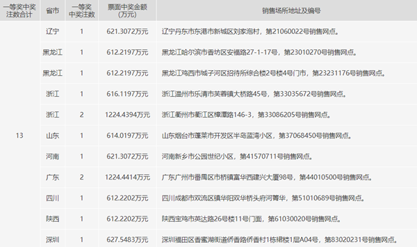
当期双色球头奖13注,单注奖金为612万多元。这13注一等奖花落9地,辽宁1注,黑龙江2注,浙江3注,山东1注,河南1注,广东2注,四川1注,陕西1注,深圳1注,共13注。其中浙江中出的3注一等奖,有2注均出自衢州市衢江区樟潭路146-3第33086205号销售网点,单票收获奖金1224.4394万元;广东中出的2注一等奖,均出自广州市番禺区市桥镇富华西建兴大厦98号第44010500号销售网点,单票收获奖金1224.4414万元。

二等奖开出136注,单注金额13万多元。当期末等奖开出1292万多注。
当期红球号码大小比为3:3,三区比为3:1:2;奇偶比为1:5。其中,红球开出一枚隔码28;两枚重号09、10;三枚斜连号09、10、28;一组二连号09、10;一组同尾号22、32;蓝球则开出08。
当期全国销量为3.63亿多元。计奖后,双色球奖池金额为8.12亿多元,下期彩民朋友将有机会2元中得1000万元。