回顶部
1月3日晚,中国福利彩票双色球游戏进行第2021001期开奖。当期双色球红球号码为02、03、13、18、20、31,蓝球号码为11。
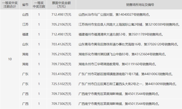
当期双色球头奖10注,单注奖金为703万多元。这10注一等奖花落7地,山西1注,江苏1注,福建1注,山东1注,湖南2注,广东2注,广西2注,共10注。

二等奖开出126注,单注金额20万多元。当期末等奖开出1238万多注。
当期红球号码大小比为3:3,三区比为2:3:1;奇偶比为3:3。其中,红球开出一枚隔码03;一枚斜连号03;两枚重号02、20;一组二连号02、03;一组偶连号18、20;一组同尾号03、13;蓝球则开出11。
当期全国销量为4.11亿多元。计奖后,双色球奖池金额为7.1亿多元,下期彩民朋友将有机会2元中得1000万元。
