回顶部

3月2日晚,中国福利彩票双色球游戏进行第2021021期开奖。当期双色球红球号码为04、08、17、24、28、33,蓝球号码为13。
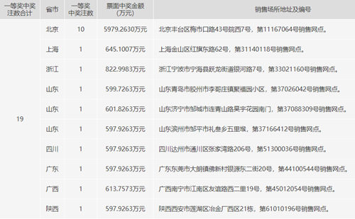
当期双色球头奖19注,单注奖金为597万多元。这19注一等奖花落8地:北京10注,上海1注,浙江1注,山东3注,广东1注,广西1注,四川1注,陕西1注,共19注。其中北京中出的10注一等奖均出自丰台区梅市口路43号院西7号第11167064号销售网点,单票共收获奖金5979万多元,成为本期最大的赢家!

二等奖开出155注,单注金额15万多元。当期末等奖开出972万多注。
当期红球号码大小比为4:2,三区比为2:1:3;奇偶比为2:4。其中,红球开出三枚隔码17、24、28;两枚斜连号04、08;一组同尾号08、28;蓝球则开出13。
当期全国销量为3.5亿多元。计奖后,双色球奖池金额为8.34亿多元,下期彩民朋友将有机会2元中得1000万元。